หมวดจำนวน:0 การ:ซัพพลายเออร์กุญแจมือสแตนเลส เผยแพร่: 2568-05-15 ที่มา:stainless steel shackle manufacturer
กุญแจมือมันเป็นประเภทของเสื้อผ้า
กุญแจมือที่ใช้กันทั่วไปในตลาดภายในประเทศโดยทั่วไปจะแบ่งออกเป็นสามประเภทตามมาตรฐานการผลิต: มาตรฐานแห่งชาติมาตรฐานอเมริกันและมาตรฐานญี่ปุ่น; ในบรรดาพวกเขามาตรฐานอเมริกันนั้นใช้กันมากที่สุดเนื่องจากมีขนาดเล็กและน้ำหนักที่มีน้ำหนักมาก
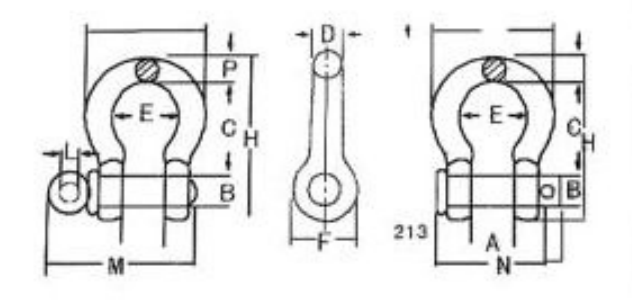
ตามประเภทมันสามารถแบ่งออกเป็นรูปทรงธนู (รูปโอเมก้า (รูปโอเมก้า) เส้นเข็มขัดรูปโค้งของผู้หญิงและรูปตัว D (รูปตัวยูหรือตรง) เส้นเข็มขัดตัวเมียรูปตัว D; ตามสถานที่ใช้งานสามารถแบ่งออกเป็นสองประเภท: การใช้ทะเลและการใช้ที่ดิน
ตามวัสดุมันสามารถแบ่งออกเป็นกุญแจมือเหล็กคาร์บอน, เหล็กอัลลอยด์, สแตนเลสสตีลกุญแจมือ, ไทเทเนียมโลหะผสมกุญแจมือ




ยินดีต้อนรับติดต่อเราเพื่อซื้อกุญแจมือสแตนเลส